Allegro MicroSystems APS11203/APS12203 24V Hall-Effect Switches

Allegro MicroSystems APS11203 and APS12203 24V Hall-Effect Switches are AEC-Q100-qualified, third-generation Hall-effect switches featuring chopper-stabilization for precision performance over industrial and automotive temperature ranges. Omnipolar and unipolar operation models with high and low polarity output options are available. The ICs are temperature-stable and offer precision performance over an extended junction temperature range up to +165°C. These Hall-effect switches provide contactless sensing of magnetic fields and an open-drain output that actuates in response to the detected field strength at the branded package face. In addition, the APS11203 and APS12203 are designed to maximize system robustness with features that include reverse-battery protection, an output current limiter, and overvoltage protection. The Allegro APS11203 and APS12203 deliver an unprecedented level of performance and value across automotive, industrial, and consumer applications.

Features

  • 2.7V to 26V operation
  • AEC-Q100 qualified
  • Omnipolar and unipolar switch threshold options
  • High and low sensitivity magnetic switch point options
  • Choice of output polarity
  • Open drain output
  • Chopper stabilization
    • Low switch point drift over temperature
    • Insensitive to physical stress 
  • Solid-state reliability
  • Industry-standard 3-pin SOT23-3 package and pinout
  • Lead-free and RoHS-compliant

Applications

  • Automotive
    • Power closures
    • Power steering
    • In-cabin motors
    • Wiper position
    • Gear-shift selectors
    • Seat belt buckles
    • Break switches
    • Headlight positions
    • Hood latch positions
    • Trottle and valve positions
    • Mirror positions
  • Industrial
    • Motor encoders
    • Commutation/index sensing
    • Brushless DC (BLDC) motors
    • Fan motors
    • Smart meters
    • Home appliances
    • Position detection
    • e-Mobility
    • Robotics
    • Building automation

Specifications

  • 28V maximum supply voltage, 2.7V to 26V range
  • -18V maximum reverse supply voltage
  • 3mA maximum supply current, 1.5mA typical
  • 30V maximum output-off voltage
  • 30mA maximum output sink current
  • 25µs maximum power-on time
  • -5mA maximum reverse battery current
  • Thermal resistance
    • 309.2°C/W for the 2-layer PCB package MD (1S0P)
    • 197.9°C/W for the 4-layer PCB package MD (2S2P)
  • Operating temperatures
    • -40°C to +150°C for APS1x203LMDALX
    • -40°C to +125°C for APS1x203KMDALX
    • +165°C maximum junction
  • Chopper stabilization and output
    • 500kHz typical chopping frequency
    • 10µs maximum propagation delay, 5µs typical
    • 320ns typical jitter
    • 2µs maximum output rise/fall time
    • 500mV maximum output saturation voltage
    • 30mA to 60mA output short-circuit current limit
    • 10µA maximum output leakage current
  • ESD ratings
    • 7kV maximum Human Body Model (HBM)
    • 1kV maximum Charged-Device Model (CDM)

Datasheets

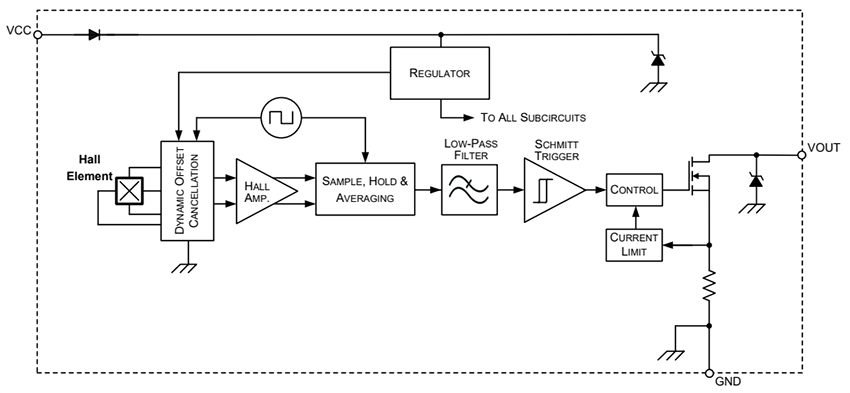
Functional Block Diagram

Block Diagram - Allegro MicroSystems APS11203/APS12203 24V Hall-Effect Switches

Typical Application Circuit

Application Circuit Diagram - Allegro MicroSystems APS11203/APS12203 24V Hall-Effect Switches

Model of Chopper Stabilization Circuit (Dynamic Offset Cancellation)

Mechanical Drawing - Allegro MicroSystems APS11203/APS12203 24V Hall-Effect Switches

Magnetic-Sensing Orientation

Mechanical Drawing - Allegro MicroSystems APS11203/APS12203 24V Hall-Effect Switches
發佈日期: 2025-09-17 | 更新日期: 2026-02-03