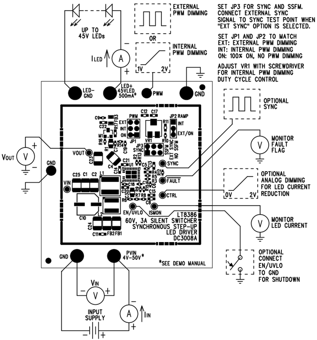
Analog Devices Inc. DC3008A Demo Circuit for LT8386

Analog Devices DC3008A Demo Circuit for LT8386 is a 60V 3A Silent Switcher synchronous step-up LED driver featuring the LT8386. It drives a single string of LEDs at 500mA up to 45V when VIN is between 4V and 40V. It runs down to VIN with reduced ILED and can withstand VIN as high as 50V but has overvoltage lockout (OVLO) set for 45V for this application. DC3008A runs at 340kHz switching frequency. Spread spectrum frequency modulation (SSFM) can be turned on with a simple jumper, reducing EMI. Analog Devices DC3008A comes with low EMI features, including optimized layout, SSFM, and input EMI filter.

It is protected against both open and short LED conditions and reports faults. The LT8386 boost converter has an input voltage range from 4V to 56V. Its internal synchronous 3.3A 60V switches allow up to 52V of LEDs (with adjusted FB resistors) on the output with room for over-voltage protection and overshoot during an open LED event. It has an adjustable switching frequency between 200kHz and 2MHz. It can be synchronized to an external source or programmed with SSFM for low EMI. The PWMTG high-side PWM MOSFET driver assists with short-circuit protection and versatility. LT8386 can be configured as a boost, boost-buck, or buck mode LED driver and maintain low EMI, PWM dimming, and fault diagnostic features.

The LT8386 can be PWM dimmed with an external PWM signal or an internally-generated PWM signal. DC3008A has a jumper that can be set to switch between internally-generated PWM signal, externally-generated PWM signal, and no PWM signal (100% ON). It can be analog dimmed with a control voltage on its control pin (CTRL). When run with both PWM dimming and SSFM, the SSFM aligns itself with the PWM signal for flicker-free operation.

Small ceramic input and output capacitors are used to save space and cost. The board is designed with small, high-frequency capacitors on both sides of the VOUT pins to reduce emissions. The open LED overvoltage protection uses the IC’s constant voltage regulation loop to regulate the output to approximately 57V if the LED string is opened. The output current can be monitored through the ISMON test point. Undervoltage and overvoltage lockout can be adjusted on the circuit with a few simple resistor choices. There is an EMI filter on the input of DC3008A.

Test Setup

Chart - Analog Devices Inc. DC3008A Demo Circuit for LT8386
發佈日期: 2021-07-09 | 更新日期: 2022-03-11