德州儀器 MSP430L092 混合訊號 MCU

德州儀器 MSP430L092MSP430 混合訊號微處理器配置,擁有兩個 16 位定時器、一個超低電壓 8 位類比轉數位轉換器 (ADC)、一個超低電壓 8 位數位轉類比轉換器及多至 11 個 I/O 引腳。 TI MSP430L092 MCU 是首款真正的 0.9V MCU,為開發人員提供更優越的靈活性及配置類比集成。 TI MSP430L092 是需要完整類比訊號鏈的單電池系統(使用單個電池的系統)的理想選擇。 TI MSP430 系列超低功耗微控制器由多個設備組成,這些設備具有針對各種應用的外設。 其架構結合了 5 種低功率模式,經過優化,可在便攜式測量應用中延長電池壽命。 TI MSP430L092 MCU 具有強大的 16 位 RISC CPU、16 位寄存器和常量發生器,可獲得最大的代碼效率。 數控內部振盪器可在 5 微秒內從低功率模式喚醒至活動模式。

特點
  • 超低電源電壓 (ULV) 範圍:0.9 V 至 1.5 V (1 MHz),1.5 V 至 1.65 V (4 MHz)
  • 低功耗:活動模式 (AM):45 µA/MHz (1.3 V),待機模式 (LPM3, WDT_A Mode):6 µA,關閉模式 (LPM4):3 µA
  • 從 LPMx 到喚醒狀態需時少於 5 微秒
  • 16 位 RISC 架構,擴展說明,最高 4-MHz 的系統時鐘
  • 緊湊型時鐘系統:1-MHz 內部可調式高頻時鐘,20-kHz 內部低頻時鐘源,外部時鐘輸入
  • 16 位 Timer0_A3,附帶三個捕捉/比較寄存器
  • 16 位 Timer1_A3,附帶三個捕捉/比較寄存器
  • ULV 類比池模式:8 位類比轉數位轉換器 (ADC),8 位數位轉類比轉換器 (DAC)
應用
  • 需要完整類比訊號鏈的單電池系統
  • 便攜式測量應用
視訊平台視訊管理視訊解決方案視訊播放器
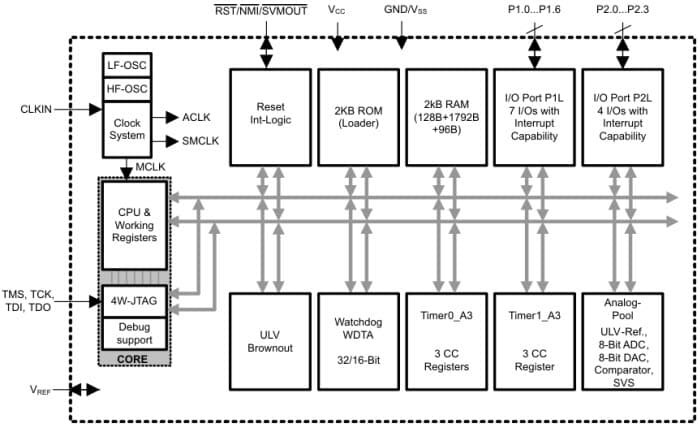
功能圖
  • Texas Instruments
  • Semiconductors|IC-MCU/MPU|Integrated Circuits
發佈日期: 2011-01-31 | 更新日期: 2025-04-16